
GUQ气动高真空球阀@德国NOOK诺克是通过电磁换向阀改变气路方向,控制执行气缸来驱动球阀,达到接通或切断真空(压力)系统管道路中的介质流。应用于真空、乳制品、酒业、生物工程、食品、制药、饮料、化妆品及化工领域。可选配反馈信号装置及电气阀门定位器。
阀体、阀盖、阀杆:不锈钢
密封件:四氟乙烯、丁腈橡胶、氟橡胶、PPL。

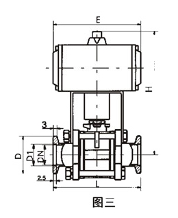
| Model型号 | DN | G | H | E | L |
| GUQ-10(G) | 10 | 1/4" | 153 | 104 | 68 |
| GUQ-16(G) | 16 | 1/2" | 155 | 104 | 72 |
| GUQ-20(G) | 20 | 3/4" | 160 | 104 | 82 |
| GUQ-25(G) | 25 | 1" | 163 | 140 | 90 |
| GUQ-32(G) | 32 | 1-1/4" | 180 | 140 | 112 |
| GUQ-40(G) | 40 | 1-1/2" | 186 | 140 | 120 |
| GUQ-50(G) | 50 | 2" | 233 | 164 | 145 |
| GUQ-63(G) | 63 | 2-1/2" | 272 | 164 | 185 |
| GUQ-80(G) | 80 | 3" | 351 | 190 | 210 |
| GUQ-100(G) | 100 | 4" | 370 | 190 | 268 |

| Model型号 | DN | D | Do | H | E | L | n-φc |
| GUQ-10(F) | 10 | 55 | 40 | 153 | 105 | 84 | 4-φ6.6 |
| GUQ-16(F) | 16 | 60 | 45 | 155 | 130 | 84 | 4-φ6.6 |
| GUQ-25(F) | 25 | 70 | 55 | 163 | 165 | 114 | 4-φ6.6 |
| GUQ-32(F) | 32 | 90 | 70 | 180 | 165 | 140 | 4-φ9 |
| GUQ-40(F) | 40 | 100 | 80 | 186 | 190 | 160 | 4-φ9 |
| GUQ-50(F) | 50 | 110 | 90 | 233 | 190 | 170 | 4-φ9 |
| GUQ-63(F) | 63 | 130 | 110 | 272 | 250 | 195 | 4-φ9 |
| GUQ-80(F) | 80 | 145 | 125 | 351 | 250 | 203 | 8-φ9 |
| GUQ-100(F) | 100 | 165 | 145 | 370 | 280 | 280 | 8-φ9 |

| Model型号 | DN | D1 | D | H | E | L |
| GUQ-10(KF) | 10 | 12.2 | 30 | 153 | 104 | 84 |
| GUQ-16(KF) | 16 | 17.2 | 30 | 155 | 104 | 84 |
| GUQ-25(KF) | 25 | 26.2 | 40 | 163 | 140 | 114 |
| GUQ-32(KF) | 32 | 34.2 | 55 | 180 | 140 | 140 |
| GUQ-40(KF) | 40 | 41.2 | 55 | 186 | 140 | 160 |
| GUQ-50(KF) | 50 | 52.2 | 75 | 233 | 164 | 170 |